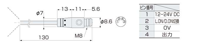
外形寸法図

  • 文字が読みにくい場合は、CADもしくはマニュアルをご確認ください。
PZ-M62_01 Dimension
PZ-M62_02 Dimension
PZ-M62_03 Dimension