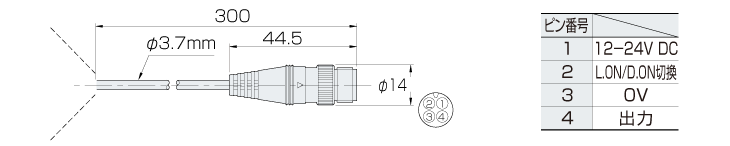
外形寸法図

  • 文字が読みにくい場合は、CADもしくはマニュアルをご確認ください。
PZ-M73_01 Dimension
PZ-M73_02 Dimension