金属の腐食分析での形態観察・解析の課題解決
自動車をはじめ、さまざまな製品に用いられる金属材料は、予想外の箇所で局部的かつ急激に腐食し、破壊に至る場合があります。
原因究明と再発防止には腐食部の分析・解析が重要で、腐食部の形態観察には顕微鏡が用いられます。しかし、従来の顕微鏡を使った観察では、さまざまな課題がありました。
ここでは、腐食分析・解析の手順や腐食の形態・要因の解説、そして4Kデジタルマイクロスコープを使った課題解決事例を紹介します。

腐食の分析・解析の重要性と手順
腐食とは、金属などの固体材料が周囲の環境との間で化学反応または電気化学的反応を起こし、変質・消耗・破壊され、本来の機能を失う現象のことです。腐食部の形態は、粒界腐食・孔食・すき間腐食・接触腐食・応力腐食割れ(粒内割れ・粒界割れ)などさまざまで、材料や環境によって異なります。
腐食の発生原因を追究し、再発防止を図るため、あらゆる業界で腐食解析が実施されています。特に自動車などさまざまな材料で構成され、屋外のさまざまな環境下で安全性が求められる製品においては、腐食の解析・分析は重要となります。
一般に、腐食の分析・解析は以下の手順で行われます。
腐食分析・解析の手順
- 腐食発生部の外観観察
- 腐食発生箇所および腐食部の色や状態を確認します。
- 腐食部を切り出し、または採取して観察
- 腐食部を切断します。切り出しが難しい場合は、腐食部のみを採取します。
- 腐食部の詳細観察/腐食物の元素分析
-
(1)顕微鏡を使って腐食部表面を詳細観察し、腐食部・腐食物の状態を確認します。また、腐食部を洗浄し基材表面の孔食などを確認する場合もあります。
(2)腐食物の成分分析(元素分析)により腐食を促進している物質を確認します。 - 腐食部の断面観察
- 必要に応じ、腐食部を断面サンプルに加工して腐食の進行状態を確認します。断面における成分分析(元素分析)を行う場合もあります。
局部腐食の形態と発生例・要因
腐食によるトラブルの多くは、進展速度の予想が困難な箇所における局部腐食によるものであるといわれます。また、金属表面の保護皮膜が破壊されることによって局部腐食が発生し、局部的な破壊の原因になる場合があります。
破壊原因となる局部腐食の代表的な形態と原因などを以下に示します。
粒界腐食
- A. 粒界腐食
- B.脱粒
- 現象:不純物や介在物によって、腐食電位の低い粒界部に発生する腐食です。また、粒界腐食が原因となって結晶粒が脱落する「脱粒」が生じる場合があります。
- 発生例:ステンレス鋼やアルミニウム合金などの熱処理が不適当な場合や処理が不十分な箇所、または溶接した際の熱影響部に発生します。
- 要因:
材料側:粒界クロム濃度の低下、微量成分の粒界偏析・粒界析出物など。
孔食
- A. 孔食
- B.不動態皮膜
- 現象:不動態を保っている金属表面(不動態被膜)のごく限られた部分に発生し、小さい穴径で深く進行する腐食です。
- 発生例:ハロゲンイオン(Cl-など)によって不動態披膜が局部的破れ、孔状に侵食。ステンレス鋼やアルミニウム合金の塩化物水溶液中の非金属介在物など、金属不均一性が引き金となって発生します。
- 要因:
環境側:ハロゲンイオン・溶存酸素。
材料側:介在物・欠陥など。
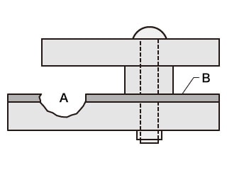
すき間腐食

- A.すき間腐食
- B.不動態皮膜
- 現象:すき間部で溶存酸素が欠乏することにより、金属表面の不動態被膜が破れ、金属が溶解して発生する腐食です。
- 発生例:ステンレス・アルミ・チタンのフランジ面などに発生します。
- 要因:
構造・材料側:すき間構造・酸化スケールなど。
環境側:ハロゲンイオン・溶存酸素(成長段階は孔食と同じ機構)。
接触腐食(異種金属接触腐食・ガルバニック腐食)

- A. 腐食部
- B.卑な金属
- C.貴な金属
- 現象:電極電位が異なる金属どうしが接触し、そこに電解質溶液が存在することで「卑な金属」に発生・促進される腐食です。
- 発生例:アルミと鋼の接触ではアルミが腐食、鋼とステンレスの接触では鋼が腐食します。
- 要因:
材料側:電位差のある金属の接触。接触する異種金属のうち、卑であるほど腐食が大きい。
応力腐食割れ
- 現象:引張り応力(残留応力または外部負荷応力)により、表面保護皮膜が局部的に破壊されて発生する腐食です。腐食が集中的に進行すると割れに至ります。
- 割れ形態の種類:応力腐食割れの進行経路は、金属と環境の組み合わせによって異なるため、割れの形態にも違いが生じます。
割れが結晶粒を貫いて進行する「粒内割れ」と、結晶粒界に沿って進行する「粒界割れ」があります。 - 要因:
粒内割れ:介在物・析出物・表面被膜・材料欠陥など。
粒界割れ:微量元素の粒界・偏析・粒界クロム欠乏層・粒界析出物・粒界不整など。
腐食部の分析・解析の課題解決事例
腐食形態から腐食の発生原因を特定することができるため、腐食分析・解析には顕微鏡による外観観察や詳細観察が重要となります。
腐食部は立体的な形状を持つため、従来の顕微鏡を使った腐食部の観察では、ピント調整や照明の条件出しなどにおいてさまざまな課題がありました。また、粒界腐食や腐食割れの詳細観察では、解像度の不足により観察が困難な場合がありました。
キーエンスの超高精細4Kデジタルマイクロスコープ「VHXシリーズ」は、高分解能HRレンズと4K
CMOS、専用設計の観察システムなどにより、従来の顕微鏡の課題を解決することはもちろん、簡単な操作で高解像度4K画像による高精細かつスピーディな観察・解析を可能としました。
ここでは、腐食部の観察・解析における従来の顕微鏡の課題解決を軸に、多機能な4Kデジタルマイクロスコープ「VHXシリーズ」の活用事例を紹介します。
結晶粒界の高精細・高解像度画像による観察
従来の課題:顕微鏡の場合
高倍率観察において解像度が不足することにより、結晶粒界やそこに発生する粒界腐食などを鮮明に観察することができませんでした。
4Kデジタルマイクロスコープ「VHXシリーズ」なら
高分解能HRレンズと4K
CMOSにより、結晶粒界の高倍率観察においても高解像度・高精細4K画像での観察が可能です。
それにより、粒界腐食や脱粒、応力腐食割れにおける粒内割れ・粒界割れなども鮮明な画像で詳細に観察することができます。


立体的な腐食部全体をフルフォーカスで観察
従来の課題:顕微鏡の場合
腐食した部分は立体的であるため、被写界深度の限界により一部にしかピントが合わず、全体像を把握しながらの観察ができませんでした。それにより、人による評価のバラつきや、細部の見落としなどが課題となっていました。
4Kデジタルマイクロスコープ「VHXシリーズ」なら
深い被写界深度と高解像度観察を可能としたHRレンズと4K
CMOSに加え、「ライブ深度合成」により、簡単な操作で対象物全体にフルフォーカスした高精細4K画像を瞬時に取得することができます。
観察箇所ごとにピント調整をする必要がないため、スピーディかつ見逃しのない観察が実現します。


照明の調整なしで、腐食模様を観察
従来の課題:顕微鏡の場合
金属の腐食部分の観察は、照明条件出しが難しく、腐食模様を観察するまでに何度も照明を調整する必要があり、多くの手間と時間がかかりました。
4Kデジタルマイクロスコープ「VHXシリーズ」なら
「マルチライティング」機能により、ボタンを押すだけの簡単操作で、全方向からの照明による複数枚の画像を素早く取得します。その中から観察に最適な画像を選択するだけで、鮮明な画像による観察が実現します。
これまで照明条件出しにかかっていた手間と時間を省き、最適な照明による高精細画像で素早く観察することができます。
また、観察画像の選択後であっても、他のマルチライティング画像データが自動保存されているため、画像を再選択するだけで異なる照明条件での観察が可能です。従来は再び試料をステージに置き、照明の再調整に要していた手間と時間を省くことができます。


腐食の分析・解析を“変える”マイクロスコープ
高精細4Kデジタルマイクロスコープ「VHXシリーズ」は、ここで紹介した以外にも分析・解析の現場で役立つ機能を数多く搭載しています。
「VHXシリーズ」なら、腐食部の高精細観察はもちろん、サブミクロンオーダーでの高精度な2D・3D測定、粒界の定量評価に役立つ自動面積計測がシームレスに実現します。
さらに、Excelのインストールと任意のテンプレートによる観察画像や測定値を使用した自動レポート作成まで、マイクロスコープ1台で一連の作業が簡単かつスピーディに完結します。
「VHXシリーズ」に関する詳細は、以下のボタンよりカタログをダウンロード、または、お気軽にご相談・お問い合わせください。


