化学・材料・素材業界
ショットブラストのデジタルマイクロスコープでの観察・測定
ショットブラストは、加工物の表面に投射材(細かい砂や鋼・鋳鉄の小球)を高速で吹き付け、表面に小さな凹凸を作り表面を削る加工方法です。研磨加工が表面を滑らかに仕上げるのに対して、表面を粗く加工するのがショットブラストです。ここでは、ショットブラストの概要とデジタルマイクロスコープでの観察・測定事例を紹介します。

ショットブラストとは
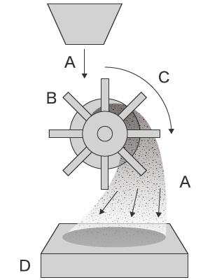
鋼・鋳鉄の小球(ショット)を高速で吹き付ける(ブラスト)ことからショットブラストと呼ばれています。ショットブラストは、羽根車(インペラー)を高速回転させ、羽根(ブレード)上の投射材を遠心力で飛ばします。これに対して、投射材を圧縮空気で飛ばす方式をエアーブラストやサンドブラストと呼んでいます。
ショットブラスト

羽根車(インペラー)をモーターで回転し、遠心力で投射材を飛ばします。コンプレッサーが必要無いため、省エネ・ローコストですが、加工力の調整が難しく、精度の高い加工が苦手です。
エアブラスト(サンドブラスト)

コンプレッサーからの圧縮空気で投射材を飛ばします。圧力調整が容易で精度の高い加工が得意です。
加工物と投射材の材質
加工物と投射材の主な材質を紹介します。
- 加工物(ワーク)
- 金属、セラミック、プラスチック、ガラス、ゴム
- 投射材(メディア)
- 鋼・鋳鉄の小球(ショット)、砂、ステンレス、アルミナ、銅、ガラス、樹脂、プラスチック、クルミの粉
ショットブラストの目的と効果
- 錆・汚れの除去
- 金属表面の錆の除去、鋳造品の砂落とし、溶接のスパッタ除去、塗装・油汚れの除去
- バリ取り
- プレス・機械加工後のバリ取り
- 凹凸処理
- 表面に凹凸を付けることで、塗装、メッキ、接着などの密着性が向上します。
梨地加工により、反射防止、補油性の向上、摩擦力アップ、放熱性の向上効果が得られます。
- ショットピーニング
- 圧縮残留応力で耐摩耗性・耐チッピング性、疲労強度が向上します。
デジタルマイクロスコープによるショットブラストの観察・測定事例
キーエンスの4Kデジタルマイクロスコープ「VHXシリーズ」を用いたショットブラストの観察・測定の最新事例を紹介します。









