応力とひずみ
ここでは、物体の単位面積当たりに作用する力(応力)の意味と求め方を説明します。
応力
物体に発生している単位面積(1 mm2)当たりに作用する力を「応力」といいます。
例えば引っ張られた棒の中では、元の形に戻そうとする力(力の大きさは引っ張る力と同じ)が働いています。引っ張る力がなくなると、棒は元の形に戻ります。
この反発する力を断面積で割った値(単位面積当たりを換算した値)を「応力」といい、σ(シグマ)で表します。
そして、外から引っ張る力をP(N)、断面積をa(mm2)とした場合、応力は以下の式で求めることができます。
σ(応力)=P(引っ張る力)/a(断面積)
例えば、断面積が10 mm2の棒を500Nの力で引っ張ったときに発生する応力は、
500 N/10 mm2=50 N/mm2ということになります。

断面積が半分の5 mm2になれば同じ力で引っ張ったとしても、
500 N/5 mm2=100N/mm2となり、引っ張る力は同じでも応力は倍になります。
ひずみ
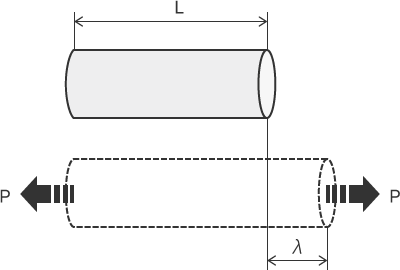
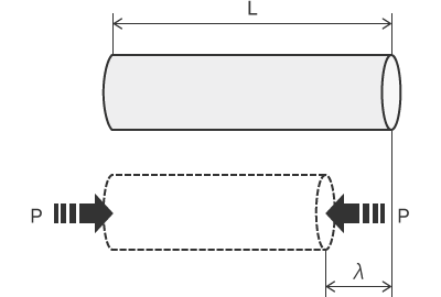
物体に引っ張る・押すなどの力を加えると応力が発生し、物体は変形します。
例えば、物体を引っ張ると、引っ張った方向に延びます。このとき、元の形状から延びた量を変形量、変形した割合を「ひずみ」といいます。
ここで、物体の元の長さをL、変形量をλ、ひずみはεとします。


力が加わって変形した物体の全体の長さは
- 引っ張った場合は L+λ
- 押した場合は L-λ
になり、どちらもひずみは
ε(ひずみ)=λ(変形量)/L(元の長さ)
で求めることができます。
ひずみは変化率なので単位はありません。
また、物体のひずみは「ポアソン比率」という値でも、表すことができます。





