材料試験機について
ここでは、引張・圧縮・曲げ・ねじり・衝撃・疲労や摩擦・摩耗など、材料試験機の種類や特徴について説明します。
金属・プラスチックス・セラミックス・木材・コンクリートなどの各種材料に、引張・圧縮・曲げ・ねじりなどの力を加え、破壊するまでの強さや弾性、硬さなどの物理的特性を測定して数値化するもので、材料開発や品質管理・商品の安全性確保に欠かせない試験です。試験目的や試験規格により、試験機の種類・容量・試験方法・結果のデータ処理方法などが決定されます。

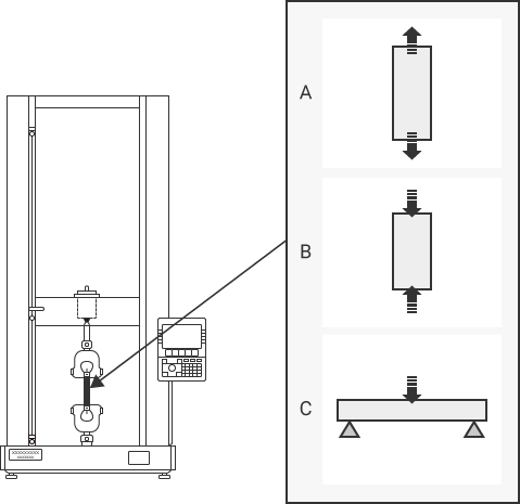
- A:引張
- B:圧縮
- C:曲げ
万能(引張)試験機
試験機として多くの分野で用いられています。治具を取り替えることで、多様な使い方ができることから「万能試験機」と呼ばれています。中でも引張試験に広く用いられ、圧縮・曲げ・硬さ試験などにも利用できます。試験体は、極太ロープやアンカーチェーン、海底電線ケーブルなどの大型試験体から繊維、織物まで幅広く、試験作業の効率を重視した横型引張試験機・引張専用試験機などの試験機もあります。

C:治具(引張り) D:試験片
圧縮(耐圧)試験機
角柱・円柱・円筒形の試験片を、2枚の平行板面で挟み、荷重を加えて破壊するまでの応力とひずみの関係を求める試験機です。一方向から試験片に押す力を加え、強度や変形の程度を計測します。「耐圧試験機」と呼ぶ場合もあります。XYZ三方向から圧縮する「三軸圧縮試験機」や、XY二方向から圧縮する「二軸圧縮試験機」があります。また、治具を取り替えることで、曲げ試験に利用できる試験機もあります。
曲げ試験機
試験片を曲げ、強度や変形の程度を計測します。曲げ試験機には、試験材料や試験方法により多くの種類があります。脆性材料は、「抗折試験機」で破壊強度や変形の程度を計測します。延性材料は、「屈曲試験機」で90度または180度まで屈曲させ、屈曲性能を計測します。また、曲げ試験機の変形タイプとしては、屈曲の負荷を繰り返して破断までの回数を計測する「反復屈曲試験機」、芯棒に線材を巻き付けて試験片の線材の亀裂性を調べる「巻付・巻解試験機」などがあります。
ねじり試験機
試験片の片側を固定し、もう一方を一定の回転速度または力(トルク)で回します。一般に、破断までのねじり回数または、ねじりトルク値・ねじり角度などを計測します。主に線材やシャフトなど試験に用いられるため、「捻回試験機」とも呼ばれます。また、車両・船舶の動力伝達軸(プロペラシャフト)・モータ軸などの伝達トルクや、ねじり回転疲労などを計測するねじり試験機もあります。
クリープ試験機
「クリープ(creep)」とは、高温状態で物体に一定の荷重(応力)を加えたときに、時間とともに物体が変形していく現象のことです。「クリープ試験機」は、長時間同じ負荷を試験片に与え、試験片の変形量を測定します。恒温槽などの一定の雰囲気の中で行われる試験が一般的で、試験片は高分子・金属・コンクリート・木材など多種多様です。また、負荷方向(引張・圧縮・曲げなど)は、試験目的により選択します。
リラクセーション試験機
一定の温度の下で、試験片に長時間ひずみを与えたときの応力の変化を測定する試験機です。試験片を加熱する場合は、温度調整装置を備えた加熱炉を用います。
衝撃試験機
試験片に衝撃を与えることにより、商品の脆弱性を試験するための試験機です。衝撃の加わり方により、引張・圧縮・曲げ・ねじりなどの衝撃試験があります。曲げの衝撃試験機には、シャルピー(Charpy)衝撃試験機やアイゾット(Izod)衝撃試験機があります。
疲労試験機
長時間、試験片に繰り返して力を与え、破壊と同時に負荷を停止し、破壊までに力を与えた負荷の回数と試験片の変形過程を計測する試験機です。
摩擦・摩耗試験機/発熱試験機
摩擦・摩耗試験機は、試験片と相手材を摩擦し、その際の摩擦係数や摩耗量を測定する試験機です。回転させるタイプや往復動作させるものなど、さまざまな試験機があります。





