CHAPTER 1
ターニング(旋盤加工)
ターニングは切削加工技術の一種で「旋盤加工」ともいわれます。ここでは、ターニングの加工法、加工機の特徴を説明します。また、国際規格であるISO13399で規定された記号と内容について説明します。
ターニングとは
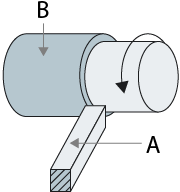
「ターニング」とは、被切削材を回転させながら、主軸に固定したバイトという刃物状の工具を自動または手動で操作し、被切削材を切削する加工技術です。

- A
- 工具
- B
- 被切削材
ターニングの加工法
被切削材は主に円筒状で、基本的な加工法には、外周を削る「外丸削り(外径加工)」や中心に穴を開ける「穴あけ(内径加工)」、溝を削って行って最後は切断する「突っ切り」などがあります。また、波を打ったような加工やねじ山を切る加工法もあります。



- A
- 工具
- B
- 被切削材
ターニングの加工機
加工機には「旋盤」が使われ、旋盤には作業者が送り操作や工具の交換を行う「汎用旋盤」と、加工条件をコンピュータが制御する「NC旋盤(CNC旋盤)があります。また、被切削材を削る刃先は「バイト」と呼ばれ、バイトには「ムクバイト」や「刃付きバイト」、「スローアウェイバイト」などがあります。

ターニング記号
切削工具の表現と交換に関する国際規格、ISO13399におけるターニングの記号一覧です。
| 記号 | 部位・内容 |
|---|---|
| B | シャンク幅 |
| CDX | 最大溝深さ |
| CUTDIA | 最大突切り径 |
| DAXN | 端面溝最小加工径 |
| DAXX | 端面溝最大加工径 |
| DCB | 取り付け穴径 |
| DCON | 取り付け部径 |
| DMIN | 最小加工径 |
| DMM | 軸径 |
| GAMF | 径方向すくい角度 |
| H | シャンク高さ |
| HBH | 下あご段差 |
| HBKW | 背面段差 |
| HF | 刃先高さ |
| HTB | 本体高さ |
| KAPR | 切り込み角度 |
| LB | 本体長さ |
| LDRED | 首下長さ |
| LF | 基準全長 |
| LH | ヘッド長さ |
| LU | 最大突出し量 |
| OAH | 全高 |
| OAL | 全長 |
| OAW | 全幅 |
| PSIR | リード角度 |
| WF | 刃幅 |


