配管継手の基本
配管に使われる継手は、配管システムにおいてさまざまな役割りを担っており、形状や接合方法・素材は流体の圧力や温度・機能に応じて多種多様です。また、産業の発展に伴い配管の流体は常に変化しており、継手も流体の温度や圧力条件の増大、種類の増加・使用環境の拡大などにより日々進化を続けています。
ここでは、継手の機能や、フランジ接続などさまざまな接合方法、継手の素材などについて説明します。
配管継手とは
継手は「配管継手」や「管継手」ともいわれ、管と管、管とバルブなどを接続し、管を意図した経路に引くことを目的とした配管部品です。主に、管の進路変更や分岐/集合、太さの変更や延長・末端の閉鎖などが行えるほか、配管の熱膨張や振動への対策も継手の重要な役割りです。管との接合方法や継手の素材は、気体や液体・粉体といった流体の種類によって異なります。多くの場合、規格で定められた継手を使用します。規格では、素材別に継手の形状寸法を寸法表として定めており、寸法表は日本産業規格(JIS)や塩化ビニル管・継手協会(JPPFA)のサイトで確認することができます。
配管継手の種類
継手には、管の進路を曲げるエルボー、管を分岐・集合するティーやワイなどの役割りに応じた接続形状があり、それぞれに図面上での表記ルールがあります。ここでは、これら継手の種類と図面上での表記について説明します。
エルボー
エルボーは管の進路を変える継手です。45°・90°・180°があり、これら継手の形状寸法は規格で定められています。それぞれにロングとショートがあり、ロングとは、曲げの半径が管の外径の約1.5倍です。また、ショートは曲げ半径が管の外径と同じ継手です。一般的に使われるのはロングで、狭いスペースの配管にはショートが使われます。
例:90°の場合


- T:厚さ
- F:曲げ半径
- ID:内径
- OD:外径
クロス
4本の管を十字状に接続する継手です。同じ径の管を4本接続するタイプと異なる径の管を接続するタイプがあり、管とはねじ込みまたは溶接で接続することが一般的です。主に液体の配管に利用され、機械設備の配管にはあまり使われていません。

- A:端面から中心までの長さ
- D1:ねじの基準径
- D2:外径
- l:ねじ部の長さ

- D1・D3・D5・D7:ねじの基準径
- D2・D4・D6・D8:外径
ソケット
同じ太さの管どうしを接続する継手です。フルカップリングともいわれ、管を延長するときに使用します。

- B:ねじの基準径
- L:端面から端面までの長さ
ティー
ティーはチーズともいわれ、管を分岐・合流する継手です。T字型をしており、枝管が母管と同じ太さの同径ティー(ストレート)と、枝管の方が細い異径ティー(レジューシング)があります。

- A:端面から中心までの長さ
- D1:ねじの基準径
- D2:外径
- l:ねじ部の長さ
ワイ
ワイは、管を分岐・合流する継手です。Y字型をしており、枝管が母管と同じ太さの同径ワイと、枝管の方が細い異径ワイがあります。また、接続の角度には45°と90°があり、この角度は規格で決められています。ティーとの違いは、一方の口を閉じてエルボーのように使用することもできる点です。
例:45°の場合


- L1:端面から端面までの長さ
- L2:端面から中心までの長さ
- D1:外径
レジューサ
レジューサは、太さが異なる管を接続する継手です。同心レジューサ(コンセントリック)と偏心レジューサ(エキセントリック)があり、同心レジューサは管の中心が一直線になっています。一方、偏心レジューサは管の中心が平行にズレています。一般には同心レジューサが用いられますが、設計施工上、細い管の一方を太い管の底面か上面に合わせる必要がある場合は偏心レジューサが用いられます。


- A:端面から端面までの長さ
- D1:ねじの基準径
- D2:外径
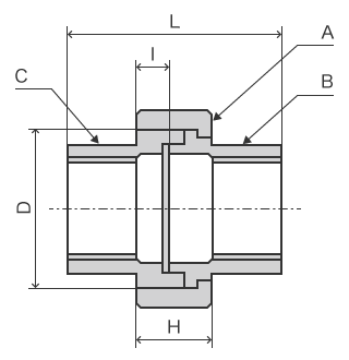
ユニオン
配管の途中に設けて管の脱着を容易にする継手です。ユニオンねじ・ユニオンつば・ユニオンナットで構成されており、一般に流体の圧力や温度が低い配管に利用されます。

- A:ユニオンナット
- B:ユニオンつば
- C:ユニオンねじ
- D:ねじの呼び径
- l:ねじの長さ
- H:ユニオンナットの高さ
- L:ユニオンつばの長さ
キャップおよびプラグ
どちらも管の末端を閉鎖する継手です。キャップは管に被せるように接続します。一方、プラグは管の穴に差し込むように接続します。

- H:高さ
- R:頂部半径
伸縮継手
配管の温度変化による管の伸縮を変位といい、伸縮継手はこの変位を吸収します。また、配管の設置誤差や振動を吸収する目的でも使用します。
使用の目的により伸縮継手には多くの種類がありますが、大きくベローズ型とスライド型(スリーブ型)に分けられます。ここではこの2種類について説明します。
ベローズ型
ベローズ型の伸縮継手はベローズ(蛇腹)を使って管の変位や配管の誤差・振動を吸収します。

- A:ベローズ

ベローズ型伸縮継手には単式と複式があり、単式は1つのベローズで主に軸方向と角度、軸方向に対して直角方向の変位に対応することができます。複式は単式を2個組み合わせたもので、軸方向と軸方向に対して直角方向の変位に対応することができます。角度の変位には対応できませんが、軸方向には単式より大きな変位に対応できます。


なお、フレキシブルチューブもベローズを使って管と管を接続する継手で管の変位や配管の誤差を吸収するため、ベローズ型伸縮継手と同様の機能を持ちます。
ただし、メーカーによってはフレキシブルチューブは軸方向や角方向などの変位に柔軟に対応できるのに対し、ベローズ型は軸方向のみの変位に対応していると定義している場合があります。
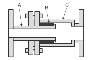
スライド型(スリーブ型)
軸方向の変化をアウターパイプとインナーパイプが動くことで吸収します。アウターパイプとインナーパイプの間にはシールがあり、流体の漏れを防ぎます。スライド型は軸方向の変位しか吸収できませんが、ベローズ型に比べて高温高圧の流体に対応でき、高耐久性であるという特徴があります。


- A:インナーパイプ
- B:シール
- C:アウターパイプ
配管継手と管の接続
継手と管の接続方法は、ねじ込み接続・フランジ接続・溶接接続に分類できます。これらは、管の大きさや流体の種類などによって使い分けられています。ここでは、それぞれの特徴と長所・短所について説明します。
ねじ込み接続
ねじ込み接続で接続する継手は、ねじ継手ともいわれます。一般に継手側はめねじ、管側はおねじになっており、管を回転させて継手にねじ込んで接続します。
多くの場合、ねじ部は先に行くほど細くなるテーパー状になっており、管用テーパーねじとして規格化されています。ストレートねじに比べて気密性に優れ、ねじ部にシールテープを巻いたり封止材を塗布することで、さらに気密性を高めることができます。

- A:めねじ
- B:おねじ
- C:テーパー
フランジ接続
フランジ接続は、フランジといわれる部品の間にガスケットを挟んでボルトで締め付け、フランジ間をシールする接合方法です。フランジ接続は分解が容易である反面、流体が漏洩する可能性があるため、フランジやガスケット座の形式・ガスケットの材質は、流体の圧力や性質・温度などの条件に適用したものを選ぶ必要があります。
フランジの形式
フランジの形式は大きくネックフランジとラップジョイントフランジに分類できます。
ネックフランジは管と突合せ溶接で接続します。このため疲労に強く、高圧高温の配管に用いられます。
ラップジョイントフランジは遊合型フランジともいわれ、スタブエンド(ラップジョイント)といわれる端部につばが付いた部品と組み合わせて使用します。管とフランジを溶接で固定しないため、フランジどうしをボルトで固定する際に管を回転させることができ、接続工事時のボルトの穴の位置合わせが容易です。

- A:ネック部
- B:フランジ部

- C:スタブエンド
ガスケット座の形式
フランジにガスケットを取り付ける部分をガスケット座といいます。ガスケット座には、平面座や全面座、メール・フィメール座などの種類があります。これらガスケット座の形式は、接続する管や機器の材質、必要とされる密封性などにより使い分けられます。
- 平面座
-
平面座はガスケット座の中で最も一般的で、フランジのガスケット座が凸型になっています。フランジでガスケットを挟んでボルトで固定すると、凸部から強い圧力がガスケットにかかるため、高い密封性を実現することができます。

- A:ガスケット
- 全面座
-
全面座はガスケット座面が平坦になっています。座面が広いためガスケット面圧が低く、ボルトの締め付けによる曲げモーメントでフランジが割れることがありません。また、柔らかな材質のガスケットを使うことができます。

- A:ガスケット
- メール・フィメール座
-
メール・フィメール座は一方のフランジのガスケット座が凹になっていて、凹の部分にガスケットを装着します。凹にガスケットが入っているため、内圧によるガスケットの飛び出しがありません。ガスケットには、うず巻型ガスケットなど径の細いタイプが使用されます。

- A:ガスケット
フランジガスケットの材質
ガスケットを材料から分類すると次のようになります。
- ソフト(非金属)ガスケット
- ジョイントシート・ゴムシート・フッ素樹脂などがあります。
ジョイントシートは繊維材料・充填材・ゴムでできた柔軟性が高いシート状のガスケットです。ゴムシートは、合成ゴムを打ち抜き加工したガスケットです。フッ素樹脂はPTFEシートを平面形状に加工したもので、耐腐食性に優れます。その他、紙質・コルク・皮・ゴム引織布・膨張黒鉛などもソフトガスケットの一種です。 - セミメタリックガスケット
- うず巻形・メタルジャケットなどがあります。
うず巻形はフープといわれるV字形をした金属製の薄板とフィラーと呼ばれるクッション材を交互に重ねて巻き付けたガスケットです。高温高圧まで使用でき、シール性に優れています。メタルジャケットは芯となる耐熱性の高い無機質のクッション材を金属薄板で被覆したガスケットです。 - メタルガスケット
- 軟鋼・ステンレス・チタン・銅・アルミニウムなどをリング状に切削した金属材料のみで作られているガスケットです。金属平形・のこ歯形・リングジョイント・金属Oリングなどがあります。耐久性や密封性に優れているため、自動車エンジンの排気マニホールドガスケットなどに使用されます。
- 液状ガスケット
- フランジの表面やねじ部に液体を塗り、液体が乾燥または均一化して弾性皮膜あるいは粘着性の薄層を形成することで接合部の隙間を埋め、接合部のもれを防止するとともに耐圧性を維持するガスケットです。
溶接
溶接は、金属同士を溶かし込んで接続するため、高圧への耐久性や気密性は最も信頼できる接続方法です。代表的な溶接法としては、突合せ溶接やソケット溶接などが用いられます。
- 突合せ溶接
-
口径が40Aまたは50A以上の管の接続に用いられます。完全溶け込みが必要であるため、突合せ部分には開先加工を施します。

- ソケット溶接
-
差込み溶接ともいわれます。口径が40A以下の細い管の接続に用いられます。継手に管を差し、継手と管を隅肉溶接します。細い管は一般に肉厚が薄く、突合せ溶接が困難であるためソケット溶接が用いられます。また、ソケット溶接は隅肉溶接であるため、低い圧力の配管に用いられます。

溶接継手のJIS規格
溶接継手に関するJISの規格には、以下の6種類があります。
| JIS規格 | 用途 | 材質 |
|---|---|---|
JIS B 2311 一般配管用鋼製突合せ溶接式管継手 |
圧力が比較的低い蒸気・水・油・ガス・空気などの一般配管 |
FSGP・PY400 など |
JIS B 2312 配管用鋼製突合せ溶接式管継手 |
圧力配管・高圧配管・高温配管・合金鋼配管・ステンレス鋼配管・低温配管・加熱炉用配管などの継目無管継手 |
PT370・PT410・PS410・PT480・PA12・PA22・PA23・PA24・PA25・PA26・PL380・SUS304・SUS316L など |
JIS B 2313 配管用鋼板製突合せ溶接式管継手 |
圧力配管・高圧配管・高温配管・合金鋼配管・ステンレス鋼配管・低温配管などの長手継目有管継手 |
PT370W・PT410W・PT480W・PA12W・PA22W・PA23W・PA24W・PA25W・PA26W・PL380W・SUS304W・SUS316LW など |
JIS B 2309 一般配管用ステンレス鋼製突合せ溶接式管継手 |
一般配管用ステンレス鋼配管 |
SUS304WD など |
JIS B 2321 配管用アルミニウム及びアルミニウム合金製突合せ溶接式管継手 |
アルミニウム合金配管 |
A5082W・A5083W など |
JIS B 2316 配管用鋼製差込み溶接式管継手 |
圧力配管・高圧配管・高温配管・合金鋼配管・ステンレス鋼配管・低温配管などの継目無管継手 |
PT370・PT410・PS410・PT480・PA12・PA22・PA23・PA24・PA25・PA26・PL380・SUS304・SUS316L など |
配管継手の材質
継手は、流体の性質や圧力・用途などにより、異なる材質で作られています。大きくは金属・非金属にわかれており、さらに表面加工の有無などの種類があります。ここでは、継手を材質別に分類し、それぞれの特徴を説明します。
黒継手・白継手
黒継手と白継手の材質は共に黒心可鍛鋳鉄です。黒心可鍛鋳鉄は、普通鋳鋼の約2倍の強度を持ちます。また、普通鋳鋼にない可鍛性があるため、衝撃に強く振動を吸収する性質を持っています。これらから、黒継手や白継手はさまざまな配管で多く使用されています。
黒継手と白継手の違いは表面加工の有無です。黒継手は表面加工されていないのに対し、白継手は溶融亜鉛メッキという表面加工が施されているため、錆や腐食を防ぐことができます。
ステンレス継手
継手に使われるステンレスは10.5%以上のクロムを含んだ合金鋼で、SUS(サス)といいます。主にSUS304・SUS304L・SUS316・SUS329J1などが用いられ、それぞれ性質が異なり用途もさまざまです。
- SUS304・SUS304L
- SUS304は、一般的なステンレス鋼です。最も多く使用され、食品・設備・化学設備などの配管継手に使用されます。一方、SUS304LはSUS304の炭素の割合を落とした極低炭素鋼で、SUS304に比べ耐粒界腐食性と耐孔食性に優れています。
- SUS316・SUS316L
- SUS316はSUS304のニッケルの含有量を多くし、モリブデンを配合した金属です。SUS316Lは、SUS316の炭素の割合を落とした極低炭素鋼です。いずれもSUS304に比べ、耐腐食性・耐孔食性に優れ、海水など腐食性の高い流体の継手に使用されます。
- SUS329J1
- SUS329J1は、オーステナイト組織とフェライト組織が混合した金属組織を有する二相系のステンレスです。強度が高く耐腐食性に優れ、さらに応力腐食割れにも高い耐久性を持っています。排煙脱硫装置の継手に使用されます。
- SUS329J3L
- SUS329J3LはSUS329J1の極低炭素鋼で、モリブデンの配合量を増やしています。塩化物などを含む流体や硫化水素や炭酸ガスにも高い耐腐食性を持っており、油井管や各種化学装置などの配管継手に使用されます。
樹脂・塩ビ製継手
樹脂や塩ビ製の継手は金属製の継手に比べて施工性・耐食性・耐薬品性に優れており、水道や下水、気体の配管、ケーブルを通す保護管などに使用されます。材質は、給水用と排水用によって異なります。
給水用には、TS継手やHITS継手を使用します。一方、排水用にはDV継手やVU(VUDV)継手などを使用します。さらに、耐熱性が要求される場合はHT継手を使用します。いずれの継手も管との接続はねじ込みや接着・溶着で行われ、ねじ込みの場合は、ねじの部分に金属が使用されているタイプもあります。
- TS継手
- 水道用硬質ポリ塩化ビニルでできた継手です。受口がテーパー状になっており、受口は接着代が長いTS受口になっています。主にVP管で圧送する水道管や給水管の継手に使用します。
- HITS継手
- 耐衝撃硬質ポリ塩化ビニルでできた継手です。受口はTS継手と同様、接着代が長いTS受口になっています。耐衝撃性が高く、外気温が低い場合でも耐衝撃性が落ちることがありません。このため、寒冷地や管工事での衝撃が加わる可能性がある配管の継手に使用されます。

- A:接着代
- DV継手・VU(VUDV)継手
- DV継手は、排水用硬質ポリ塩化ビニルでできた継手です。受口はTS受口と比べて接着代が短く、テーパも緩く短いDV受口になっています。主にVP管の継手に用いられ排水や通気など圧力がかからない配管に使用します。VU(VUDV)継手の材質や受口・用途はDV継手と同じですが、VU管の配管継手に使用します。
- HT継手
- 通常の塩ビ樹脂に耐熱樹脂を混合した材質でできた継手です。熱変形温度や軟化温度が高いため、高温の給水配管の継手に使用します。

- A:接着代







