電流計測とは?
電流は電荷の流れであり、単位はアンペア(A)です。1秒間に1クーロンの電荷が流れる場合の電流が1アンペアです。電流計測は計測する電流の大きさによって計測器や方法が異なり、そのメリットやデメリットを理解することは精度の高い計測には欠かせません。
ここでは、小電流の計測と大電流の計測の方法を説明、さらに回路の電流を検出するための抵抗器であるシャント抵抗器について紹介します。
小容量電流計測
1mA~1Aの電流は、多くの場合デジタルマルチメーター(DMM)やテスター、シャント抵抗器で計測します。
デジタルマルチメーター(DMM)で計測する
デジタルマルチメーター(DMM)は、1台で電圧・電流・抵抗などの計測が可能な計測器です。シャント抵抗器を内蔵しており、ここに計測したい電流を流し、抵抗両端の電位差を測定することで電流値を算出します。
アナログ式のテスターに比べて高精度かつ高分解能であり、A/Dコンバータによるデジタル表示であるため目視の際の読み取り誤差がありません。
デジタルマルチメーター(DMM)は、計測する回路に直列に接続し、最大計測値は約数百mAです。
デジタルマルチメーター(DMM)での電流計測で注意すべきポイントは、以下の通りです。
流入電流の処理
漏れ電流(漏洩電流)など回路の外から流入する電流は、回路に入らないように回路の外に逃がす工夫が必要です。また、測定者や振動による摩擦帯電によって発生する電流も流入する可能性がありますので、計測する周辺を除電するなどの対策が必要です。
計測レンジの設定
μA/mAとAなど計測レンジの切り換え機能がある場合は、まず最大レンジで計測します。小電流を計測するレンジで大電流を計測すると、内蔵したシャント抵抗が破損し故障の原因になります。
シャント抵抗器で計測する
シャント抵抗器とは、回路の電流を検出するための抵抗器のことです。「分流器」ともいわれ、元々は指針式電流計の指示範囲拡大のために並列に接続する抵抗を意味していました。最近では電流を検出するための抵抗器そのものがシャント抵抗器と呼ばれています。具体的には、電流を計測する回路に直列抵抗を接続し、その両端の電圧を計測します。計測した電圧から電流を算出します。シャント抵抗器による電流計測では、シャント抵抗の分だけ回路全体の抵抗(出力インピーダンス)が大きくなります。したがって、出力インピーダンスより余裕を持った小さい値のシャント抵抗を選定します。
テスターで計測する
電流を計測する回路に、テスターを直列に接続します。したがって、回路の一部を切断することになります。計測レンジを計測する電流値に合わせる必要があるため、前もって電流を計測する回路の電圧を計測し、抵抗値から電流値を算出しておきます。算出した電流値に計測レンジを設定し、計測を開始します。
4-20mA出力による計測
4-20mAとは、アナログ電流出力の一種で、測定器や変位計が出力する4-20mAアナログ電流を利用して測定値を算出する方法です。計測方法は、大きく単数接続時と複接続時にわかれ、それぞれにシャント抵抗を使う方法と使わない方法があります。
計測した信号をアナログ電流で送るためノイズに強く長距離転送が可能です。また、最終的には電圧に変換するため、制御機器やレコーダへの接続が容易というメリットがあります。
大容量電流計測
大電流は、シャント抵抗器以外にクランプメーターを使って計測する方法もあります。デジタルマルチメーター(DMM)は電源を落として回路を切断してから計測をしますが、クランプメーターはクランプで計測したい電流が流れる配線を被覆の上からはさみ込むだけで、電流計測ができます。
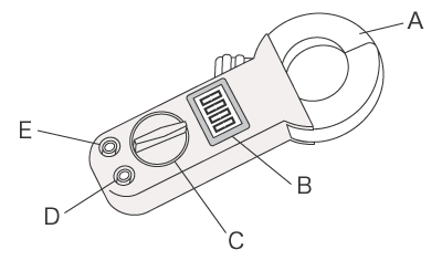
クランプメーターの特徴
一般的なクランプメーターには、配線をはさむクランプや表示部、計測モードスイッチで構成されており、入出力端子としては電圧/抵抗端子、通信用端子が装備されています。

クランプメーターの計測原理
配線を流れる電流によって発生する磁力線(磁界)をコアで検出し、電流を検出します。
クランプメーターには、交流電流用と交流・直流電流の両方を計測できるタイプがあり、それぞれ計測方式が異なります。
交流電流用
計測方式にはCT方式とロゴスキーコイル方式があります。CT方式はコストパフォーマンスに優れ最も多く使用されています。ロゴスキーコイル方式は空芯コイルを使用しており、磁気コアによる磁気飽和がないため大電流計測に適しています。
交流電流・直流電流用
計測方式にはホール素子方式とフラックスゲート方式があります。ホール素子方式は、配線の周囲に表れる磁界のホール効果を利用しており、直流電流と数kHzまでの交流電流が計測可能です。フラックスゲート方式は、CT方式の低周波特性を向上させた方式で、負帰還動作であるため直線性に優れます。ホール素子方式に比べゼロドリフト特性が小さいため、交流電流計測はもちろん、直流電流の高精度計測に適しています。
このページのまとめQ&A
Q. 電流とは何ですか?
A. 電流は電荷の流れを表す量で、1秒間に1クーロン流れると1アンペアと定義される基本的な電気量です。
Q. 小容量電流はどのように計測しますか?
A. 1mA~1Aの電流は、デジタルマルチメーター(DMM)やテスター、シャント抵抗器を使い、回路に直列接続して計測します。
Q. デジタルマルチメーター(DMM)で電流を測る際の注意点は?
A. 流入電流を避ける対策と、誤ったレンジ設定によるシャント抵抗の破損を防ぐことが重要です。
Q. シャント抵抗器を使う電流計測の仕組みは?
A. 回路に直列接続した抵抗の両端電圧を測り、オームの法則から電流値を算出する方法です。
Q. 大容量電流はどのように計測しますか?
A. クランプメーターを配線に挟むだけで電流を検出でき、回路を切断せず安全に大電流を測定できます。
キーエンスのデータロガー
-
NR-X シリーズ
マルチ入力データロガー
NR-Xシリーズは、“簡単操作・持ち運びのしやすさ・あらゆる計測シーンに対応”といったデータロガーに求められる機能を全て網羅した商品となります。クラス最小・最軽量の手のひらサイズでありながら、8種の計測ユニットに対応しており、最大576Chの多Ch計測も可能です。また従来、計測準備に最も時間がかかってた配線工数を、大幅に削減できる省配線システムにも対応。配線工数や配線ミス、断線時の復旧作業などを気にせずにご使用いただけます。もちろん、初めての方でも“かんたんに”操作できるよう、設定をサポートするヘルプ機能やひと目でわかるアイコンも採用しています。さらに、電源ユニットはAC・DC・バッテリーから選択でき、大容量リチウムイオンバッテリーで最長800分のデータ収集が可能。無線LANユニットも使用すれば計測する場所を選びません。






